
Key Points
- Integrates heating element, battery, and controller into a single stick without external device
- Uses mechanical thermal regulation instead of semiconductor-based control
- Designed to replicate cigarette-like convenience and sharing scenarios
- Limited battery capacity (≤400mWh) may constrain performance and puff count
- Raises potential regulatory and safety considerations for embedded power systems
2Firsts
March 18, 2026,
According to publicly available information on the patent database of China’s National Intellectual Property Administration (CNIPA), Shanghai Tobacco New-Type Tobacco Products Research Institute Co., Ltd. has filed a patent for a “device-free electrically heated tobacco stick.”
The invention integrates a filter segment, tobacco substrate, heating element, controller, and power source into a single cylindrical unit resembling a conventional cigarette. Unlike existing heated tobacco systems that require dedicated devices, the proposed design enables standalone operation without external hardware.
Mechanical Temperature Control Replaces Electronics
A notable feature of the patent is the use of a mechanical thermal regulation system. Instead of semiconductor-based temperature control, the design employs a thermal expansion circuit breaker—such as an airbag or bimetal structure—to regulate heating cycles.
This approach allows the circuit to open and close automatically as temperature fluctuates, potentially simplifying system design and improving tolerance to high-temperature environments.

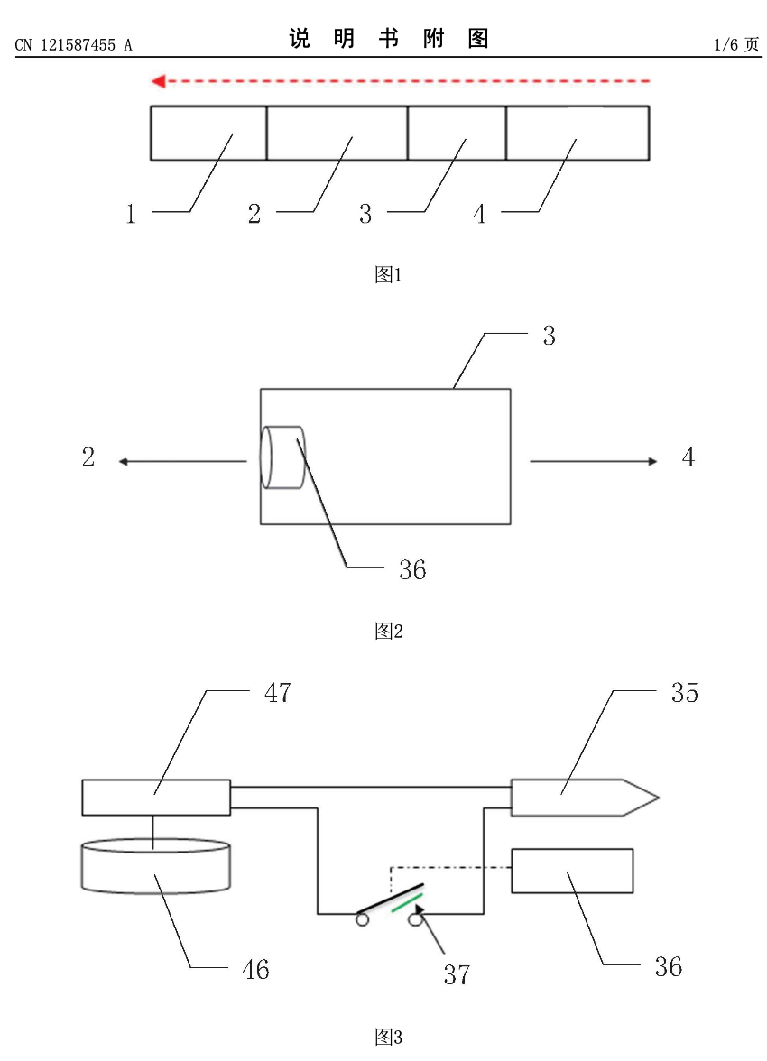
Figure 1 illustrates the sequential configuration of filter segment, tobacco substrate, heating circuit, and power unit; Figure 2 shows the layout of the heating circuit section; Figure 3 presents the electrical connection between the heating element, power source, and controller, activated via an insulating tab.
Source: China National Intellectual Property Administration (CNIPA)
Built-In Power Constraints Highlight Technical Trade-offs
The patent specifies that the embedded energy storage unit is limited to a maximum of 400mWh, with strict constraints on weight (≤4g) and volume (≤4cm³).
While this enables a compact, cigarette-like format, it may also limit heating duration, aerosol generation, and overall user experience compared to conventional heated tobacco systems.

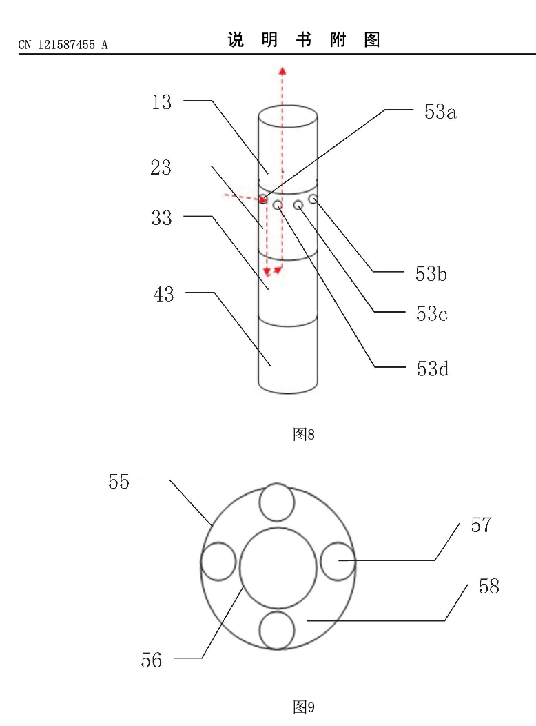
Figure 8 illustrates the airflow entering through inlet holes and circulating within the stick; Figure 9 provides a cross-sectional view, showing the airflow channels formed between outer paper, inner paper, and supporting structures.
Source: China National Intellectual Property Administration (CNIPA)
Technical Constraints and Uncertainties
Despite its integrated design, the patent raises several technical and practical uncertainties.
First, the limited energy capacity may constrain heating temperature stability, aerosol output, and puff count—key performance indicators for heated tobacco products.
Second, embedding a power source within a disposable stick introduces safety considerations, including thermal management, battery integrity, and risks during storage, transport, and use.
Third, the proposed format may face regulatory ambiguity. Products combining cigarette-like form factors with embedded electronics could fall into overlapping regulatory categories across different markets.
These factors suggest that while the concept is structurally innovative, its commercial feasibility remains uncertain.
Implications: Toward a Disposable-Like HTP Model?
The design may signal a shift in heated tobacco development—from device-dependent systems toward a more product-centric model, where the stick itself functions as the device.
This concept may be viewed as a step toward a disposable-like paradigm in heated tobacco, though significant differences remain in technical requirements and regulatory pathways.
If viable, such products could lower user barriers and reshape distribution models. However, embedded power systems may introduce new challenges in safety, environmental impact, and compliance.
More updates on the global next-generation nicotine industry are available at 2Firsts.
Cover image generated by AI.
This document has been generated through artificial intelligence translation and is provided solely for the purposes of industry discourse and learning. Please note that the intellectual property rights of the content belong to the original media source or author. Owing to certain limitations in the translation process, there may be discrepancies between the translated text and the original content. We recommend referring to the original source for complete accuracy. In case of any inaccuracies, we invite you to reach out to us with corrections. If you believe any content has infringed upon your rights, please contact us immediately for its removal.










