![[Technical Analysis] Understanding the EP804 Patent Dispute Between YTI and PMI: What Exactly Is a “Gathered Sheet”?](https://static.2firsts.com/uploads/20250411/fe4f99a60cbe084b39c53f684fd47915.jpg?x-oss-process=style/origin)
On March 28, 2025, the Board of Appeal of the European Patent Office (EPO) heard a case with significant implications for the global patent landscape of novel tobacco products. Yunnan Tobacco International (YTI) filed a request to invalidate Philip Morris International’s (PMI) European Patent EP3076804. The patent concerns a key component in IQOS sticks known as the “gathered sheet.” The hearing lasted nearly four hours and was livestreamed, marking the first time a Chinese tobacco firm has formally challenged a global tobacco giant within the European patent system. This case has already been featured in a prior 2Firsts report.
2Firsts invited IP attorney Liu Peiling from Tian Yuan Law Firm to provide a technical interpretation of the case.
1. Understanding the Patent: What Is a “Gathered Sheet”?
The patent’s Claim 1 reads as follows:
A heated aerosol-generating article (1000, 2000) for use with an electrically-operated aerosol-generating device (3010) comprising a heating element (3100),the aerosol-generating article comprising an aerosol-forming substrate (1020, 2020) radially encircled by a sheet of thermally-conductive material (1222,2222), in which the aerosol-forming substrate comprises a gathered sheet of aerosol-forming material circumscribed by a wrapper, the wrapper being the sheet of thermally-conductive material which acts as a thermally-conducting flame barrier for spreading heat and mitigating against the risk of a user igniting the aerosol-forming substrate by applying a flame to the aerosol-generating article.
![[Technical Analysis] Understanding the EP804 Patent Dispute Between YTI and PMI: What Exactly Is a “Gathered Sheet”?](https://static.2firsts.com/uploads/20250411/986bc70be61777120e5ecae05a25e27c.png?x-oss-process=style/origin)
As seen from Claim 1, this patent primarily protects two technical features: the thermally conductive sheet that radially encircles the aerosol-forming substrate, and the gathered sheet forming the core of that substrate.
Figures 2 and 3 of the patent specification illustrate two modes of wrapping the thermally conductive material—such as aluminum foil—either directly around the gathered sheet or outside the cigarette paper. Both serve to prevent ignition.
![[Technical Analysis] Understanding the EP804 Patent Dispute Between YTI and PMI: What Exactly Is a “Gathered Sheet”?](https://static.2firsts.com/uploads/20250411/4c8253f142b29cb6c971ea69e2b1a08c.png?x-oss-process=style/origin)
Reference to Specification: “Gathered Sheet” Is Clearly Defined
The term “a gathered sheet” is explained in multiple sections of the PMI patent as follows:
[0014] The aerosol-forming substrate comprises a gathered sheet of aerosol-forming material circumscribed by a wrapper. The wrapper being the sheet of thermally-conductive material. The gathered sheet of aerosol-forming material may be a sheet of tobacco such as a sheet of homogenised tobacco.
[0015] The aerosol-forming substrate may be formed as a rod of cut filler, and the rod of cut filler may be encircled by a sheet of thermally-conductive material.
[0020] The gathered sheet of material preferably extends along substantially the entire rod length of the rod and across substantially the entire transverse cross-sectional area of the rod.
[0035] As used herein, the term “gathered” denotes that the sheet of tobacco material is convoluted, folded, or otherwise compressed or constricted substantially transversely to the cylindrical axis of the rod.
[0037] The gathered sheet of aerosol-forming material may be a textured sheet of material. Use of a textured sheet of material may advantageously facilitate gathering of the sheet to form a rod as described herein.
[0038] As used herein, the term “textured sheet” denotes a sheet that has been crimped, embossed, debossed, perforated or otherwise deformed. Textured sheets of material may comprise a plurality of spaced-apart indentations, protrusions, perforations or a combination thereof.
[0039] As used herein, the term “crimped sheet” is intended to be synonymous with the term “creped sheet” and denotes a sheet having a plurality of substantially parallel ridges or corrugations.
[0063] The apparatus shown in Figure 1 generally comprises: supply means for providing a continuous sheet of homogenised tobacco; crimping means for crimping the continuous sheet; rod forming means for gathering the continuous crimped sheet and circumscribing the gathered material with a thermally-conductive aluminium foil wrapper to form a continuous rod; and cutting means for severing the continuous rod into a plurality of discrete rods. The apparatus also comprises transport means for transporting the continuous sheet of material downstream through the apparatus from the supply means to the rod forming means via the crimping means.
The patent protects the core “aerosol-generating section” used in IQOS-compatible HEETS sticks. This section consists of a “gathered sheet” of aerosol-forming material, wrapped in a thermally conductive and flame-retardant material. The EP804 specification states that the use of both components improves aerosol uniformity and reduces the risk of ignition.
2. Why Was YTI on the Defensive? The Root Cause: Insufficient Attack on Patent Validity
Liu Peiling analyzed that the reason YTI focused its invalidation arguments on claim clarity and claim scope rather than novelty was due to the lack of strong evidence directly targeting the novelty of the “gathered sheet” described in PMI’s EP804 patent.
From the viewpoint of a skilled person in tobacco technology, the physical structure of the HNB material disclosed in YTI’s submitted evidence still differs considerably from the “gathered sheet” claimed in the EP804 patent.
YTI contended that the term “gathered sheet” had a clear and widely accepted meaning in the tobacco industry. Moreover, they argued that the broader definition given in Paragraph [0035] of the EP804 patent specification should govern the interpretation of Claim 1. This definition includes not only folded or convoluted sheets but also spirally wound structures such as the ones disclosed in the two prior art documents YTI cited: D1 (EP 2368449 A1) and D2 (WO 2011117750 A). These documents respectively describe spirally wrapped tobacco sheets and cylindrical plugs formed from homogenized tobacco material.
Liu pointed out that, based on her analysis of D1 and D2, if one were to interpret “gathered sheet” without reference to Paragraph [0035] and instead rely solely on the understanding of a person skilled in the art, the term would likely be interpreted as a sheet that is folded or wrapped in such a way that it occupies three-dimensional space. However, D1 and D2 do not fully disclose such a 3D structural form of a gathered sheet.
As disclosed in Paragraph [0007] of D1:
“In the present invention, the heater has a hollow cylindrical structure, the roll has a hollow cylindrical structure including only a tobacco sheet or a tobacco sheet and a wrapping material wrapping the outside of the sheet, the roll is inserted into the hollow part of the heater, and the tobacco sheet or the wrapping material wrapping the outside of the sheet is in contact with the inside surface of the heater. The wrapping material is preferably made of a heat conductive material, for example, a metal foil. The heat conductive material is preferably the same material as that of the inside surface of the heater.”
In Paragraph [0037] of D1:
“[0037] As shown in FIG. 7 (10s), the nicotine delivery in Example 2B in which a tobacco sheet and an aluminum foil were laminated and spirally wound two-fold is increased compared with the nicotine delivery in Example 2A which was wound singly. The reason for this is considered to be that the effective area of the tobacco sheet is increased in Example 2B.”
Figure 8 of D1 illustrates a cross-sectional view of the tobacco sheet in Example 3, which includes a support element (21: tobacco sheet, 51: support element):
![[Technical Analysis] Understanding the EP804 Patent Dispute Between YTI and PMI: What Exactly Is a “Gathered Sheet”?](https://static.2firsts.com/uploads/20250411/83bb6896e36802ebd8c4cde7c4a253cc.png?x-oss-process=style/origin)
Additionally, Paragraph [0008] of D1 describes the benefit of this structure:
“The tobacco sheet can be uniformly heated in a short amount of time with good controllability.”
From the above descriptions and illustrations in D1, it is clear that D1 provides a strong challenge to the technical feature in the EP804 patent regarding the “thermally conductive wrapper that radially encircles the aerosol-forming substrate (1020, 2020).”
However, when it comes to the “gathered sheet” aspect of the aerosol-forming substrate, D1 discloses only a cylindrical tobacco sheet that has been spirally wound or rolled—without folding—so it falls short of providing a full novelty challenge.
If the definition of “gathered sheet” from Paragraph [0035] of the EP804 patent—namely, a sheet that is folded or wrapped or otherwise compressed or constricted—is applied in interpreting Claim 1, then the tobacco sheet structure disclosed in D1 could be considered a “gathered sheet.” In that case, D1 could serve as a strong prior art reference to challenge the novelty of the “gathered sheet” claimed in EP804.
This divergence in interpretation is precisely why the issue went before the EPO Board of Appeal, where much time was spent debating the core legal question: when should a claim term be interpreted in light of the patent specification?
3. The EPO’s Position Was Unfavorable to YTI
Core Position of the European Patent Office (EPO): The Evidence Provided by YTI Failed to Invalidate the Novelty of PMI’s EP804 Patent
The EPO concluded that if the term “gathered sheet” is to be interpreted as requiring a sheet that is both folded and crimped, then a spirally wound tobacco sheet like that disclosed in prior art D1 would not fall within the definition of a “gathered sheet.” In contrast, the gathered sheet in EP804 ultimately exhibits pleating and occupies three-dimensional space. Therefore, Claim 1 of the EP804 patent remains novel over D1.
The Board of Appeal further held that a person skilled in the art, when interpreting the term “gathered sheet” in isolation, would understand it to refer to a sheet that is folded along lines so as to occupy three-dimensional space. That is, if the term “gathered sheet” in Claim 1 is interpreted with its ordinary meaning in the prior art, the claim as a whole is novel. However, if the term is interpreted more broadly—yet still technically plausible—based on the definition in Paragraph [0035] of the specification, then Claim 1 may lack novelty.
The Board also emphasized that without resolving the interpretation of “gathered sheet,” it is not possible to meaningfully assess either the novelty or the inventive step of the claim with respect to D2, which discloses content similar to D1.
Thus, regarding the legal question of whether “the specification and drawings may be used to interpret the claims only when the claims are deemed unclear by a person skilled in the art,” or whether “the claims should always be interpreted in light of the specification regardless of ambiguity,” the Board of Appeal held that the issue must be referred to the Enlarged Board of Appeal.
In short, if the Enlarged Board of Appeal ultimately holds that the specification and drawings may only be considered in cases of ambiguity, the outcome would favor PMI. Conversely, if it concludes that the specification may be used regardless of ambiguity, then the outcome would more likely favor YTI.
4. A Misplaced “Landmark Case”: Undermined by Insufficient Evidence
Liu Peiling stated that although this case was regarded as one of the most significant patent litigations in Europe, the attempt to invalidate PMI’s EP804 patent ultimately failed at the EPO stage due to insufficient evidence targeting the “gathered sheet” feature—a missed opportunity, in her view.
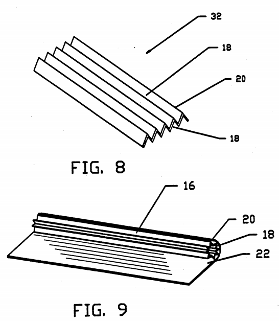
To support her position, Liu recommended a U.S. patent published in 1990—US5016656A—which explicitly discloses the gathered sheet structure featured in EP804. As illustrated in Figures 8 and 9 of that patent, the tobacco sheet is both folded and crimped into a cylindrical form. The specification also provides a clear and detailed description of the tobacco sheet manufacturing process.
She noted that nearly two decades separate the 1990 U.S. patent and the first piece of prior art (D1, dated 2009) cited by YTI. In between, there were several other patents that also disclosed the “gathered sheet” characteristics later claimed in EP804.
![[Technical Analysis] Understanding the EP804 Patent Dispute Between YTI and PMI: What Exactly Is a “Gathered Sheet”?](https://static.2firsts.com/uploads/20250411/bf2cf076df143edab7dfb8f2a5c7194d.png?x-oss-process=style/origin)
Liu further emphasized that EP804 essentially applies traditional reconstituted tobacco manufacturing processes—such as slurry forming, calendering, and casting—within the context of HNB (heat-not-burn) technology. These processes have been used for decades in conventional cigarettes. What PMI did was combine them with IQOS’s center-heating mechanism, creating a strategically aligned patent pool that encompasses both stick structure and heating device.
Regarding the “crimped” or “pleated” features of the tobacco sheet in EP804, Liu pointed out that these had already been disclosed in earlier patents. Thus, the debate between YTI and PMI over the definition of “gathered sheet” was not really about technical differences—it came down to a lack of strong prior art evidence.
![[Technical Analysis] Understanding the EP804 Patent Dispute Between YTI and PMI: What Exactly Is a “Gathered Sheet”?](https://static.2firsts.com/uploads/20250411/6d7a9867b7e57eb7d9db9a26e8f062e9.png?x-oss-process=style/origin)
This patent invalidation case demonstrates that the success or failure of an HNB patent challenge hinges heavily on the quality and sufficiency of evidence. For Chinese HNB companies looking to expand overseas, building a systematic and well-documented prior art strategy is essential to confronting the intellectual property portfolios of global tobacco giants.
If a company equips itself with sufficient “ammunition” during the Freedom-to-Operate (FTO) process—by identifying and preparing strong prior art in advance—then, when patent threats arise during initial market entry, it will be in a much better position to confidently challenge patent validity and mitigate infringement risk.
About the Author: Liu Peiling is an intellectual property attorney at Tian Yuan Law Firm. She specializes in patent search, analysis, invalidation, and litigation in the novel tobacco product sector. (Bio provided by Liu Peiling)
Further Reading: Global NGP Patent Battlefront: YTI Challenges PMI Over the “Gathered Sheet” Patent







